M-ACPA

@6e6c.adf  M-ACPA/A

Audiocap.exe  ACPA Adapter/A Option Disk   (720K! Use FORCEDOS under NT)
    Or use Wild Bill's ZIP of the extracted files HERE
ACPA Installation and Technical Reference Manual (with POS info!)

Method and apparatus for simultaneous output of digital audio and midi Synthesized Music

IBM M-ACPA Win. driver Corrective Serv.
M-Audio Capture Drivers and APIs 1 of 2
M-Audio Capture Drivers and APIs 2 of 2
M-Audio Capture Drivers Docs
M-Audio Support files for Windows 3.1
Drivers for Audio Capture/Playback
Readme file for macpaopt.exe

190-159  M-Audio Capture And Playback Adapter/A Upgrade Kit
Installing the M-ACPA  under Win95 (Peter Wendt) 
IBM M-Audio Capture & Playback Adapter/A (M-ACPA) @6E6C  (William Walsh)

ACPA Source

ACPA Low Level Driver Source 1/2
More ACPA stuff (copy or different?)
@6E6C ADF sections


ACPA, ver A
   JPR4
ACPA, ver B
ACPA, ver C (Ultimedia)
Win95 Experiences (William Walsh)
ACPA Construction
ACPA Source
ADF Sections


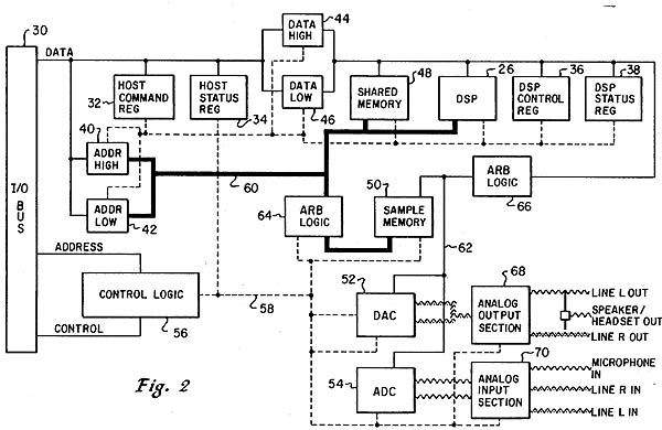
ACPA Block Diagram (Extract from US Patent 5,054,360)




ACPA  (Rev. A) 
  Thanks to William Walsh for outlining this and doing the chip ID.
Blue - Takamisawa A5W-K
U20 - Crystal CS5126
U61, 64 - Cypress CG7C185-35VC
U63 - TI TMS320C25FNL DSP
Y1 - 22.5792MHz (CS5126 external clock ?)
Y2 - 40MHz (DSP clock?)

Y1 - 22.5792MHz (probably for CS5126 external clock -- see datasheet)
U63 - TI TMS320C25FNL DSP datasheet HERE
U20 - Crystal CS5126 (16 bit stereo A/D converter, datasheet here)
Blue - Takamisawa A5W-K 5VDC 1A/30VDC DPDT relay (for muting function)

Jumper JPR4
   This is the only way to jumper it. Experiment if you are curious.
 
 
 
 



ACPA  (Rev. B) P/N 95F1288 Made by Rexxon/Tecmar FCC ID ANOMACPAMC
J1 CD Rom Audio (see J1 below)
J2 AUX (see J2 below)
J3 Unk artifact?
JPR1, 2 Jumpers to connect PCB planes
JPR3 Artifact (see JPR3 below)
K1 Takamisawa A5W-K
OSC1 22.5792 / 40.000 MHz osc
P1 Line In
P2 Microphone
P3 Line Out
P4 Speakers
P5 Artifact (wavetable?)
U1, 3, 5 NS LF347M
U2, 6 NS LM386
U4 Intersil DG211CY
U8 NEC D6355G ?
U12 Crystal Semi CS5126-KL
U13 TI CF62357APQ
U16 TI TMS320C25FNL DSP
U17, 18 Cypress CYC185-20VC0

U1, 3, 5 NS LF347M Quad operational amplifier (JFET) Datasheet
U2, 6 NS LM386 Low Voltage Audio Power Amplifier Datasheet
U4 Intersil DG211CY SPST 4-Channel Analog Switch Datasheet
U8 NEC D6355G (UPD6355G) 16-Bit Digital-to-Analog Converter Datasheet
U12 Crystal Semi CS5126-KL 16-bit stereo A/D converter for digital audio Datasheet
U16 TI TMS320C25FNL DSP Datasheet HERE
 

J1  CD Rom Audio cable
J2 AUX

JPR3Artifact Leave jumpered. Why this is, I don't know. 
Peter sez- 
   Did you notice the 30-pin double pin row solder spots on that card ? As far as I recall it was intended to add some more stuff to this card ... and this jumper seems to be an artifact from that stage of developement as well. Open the jumper - and the system hooks with the ACPA installed. 



ACPA  (Ultimedia Rev. C)
U2, 3 National Semiconductor LM386
U12 Crystal CS5126-JL
U13 TI CF62357APQ (MCA bus interface?)
U16 TI TMS320C25FNL DSP
U17, 18 Cypress CY7C185-20VC
OSC1  22.5792 & 40.0 MHz
Q1 Takamisawa A5WK Relay
T1-7 TDK ZJYS-2 

U12 Crystal CS5126-JL (16 bit stereo A/D converter, datasheet here)
OSC1  22.5792 & 40.0 MHz (CS5126 clock and DSP clock - all in one package!)
Q1 Takamisawa A5WK (in a white casing, for audio muting)

J2 Pinout

P4 Pinout = Multimedia Port (same as Audiovation)
Pin
Signal
Pin
Signal
1
Out R
10
Out L
2
Gnd
14
Key
4
Mic R
13
Mic L

Audio Mute
   Peter Wendt says:

I have the M-ACPA in various machines - one of them is a Server 85 (33MHz planar) with Kingston Turbochip 586-133 installed. Works nice.

But:
- is not Soundblaster compatible and will never be
- volume control and mixer don't work (consequently - requires SB-comp. card)
- the audio-mute is a relay, which causes a loud clicking noise in the output
- the .MID-files sound a bit odd since the instrument tables differ
   Apart from that it works pretty good and the audio quality is a lot better compared to ISA-sound card. The digitizer part (analog in) is 10X-better than on any other ISA-card due to the better signal / noise ratio of the MCA. I use one ACPA to digitize my old analog records. 



Windows 95 Experiences (set-up procedure here.)

The M-ACPA sounds pretty darn good when playing waveform audio.

   The MIDI implementation doesn't sound at all good under Windows 95. Some notes seem to be
over-emphasized and others you can barely hear. Some wave sounds come through a bit strangely and others play fine. I can't explain that. This might be compression related. As with Audiovation, using 16 bit programs is your best bet for proper sound playback. Most 32 bit programs won't even see that you have the ACPA installed. I didn't try recording from any source.

   Warning: You get no volume control on the ACPA that I can see. It looks to me as though the outputs are "full on" under Windows 95. For your ears' sake, use earphones or speakers that have an inline volume control.

   MP3 files played nicely on my 9585-0XF using an old 16-bit version of Fraunhofer's MP3 decoder software and a Kingston 133MHz TurboChip CPU upgrade. To multitask I had to turn down the decoding quality a bit. You'd be hard pressed to hear the difference from ordinary computer speakers though.



ACPA Construction
Brad Parker said:
   I know Audiovation sounds really good, and specs out good to, but I'm working on an audio related project that needs to run under Linux, so the ACPA series cards are my only real choice, unless you know of a OSS compatible Audiovation driver for Linux. 
   I Looked at both the M-ACPA/A and ARPA audio stages tonite and they are functionally identical (Think you said that on your page). 
   Four small transistors near the center are for the Microphone gain stage and are probably acting as an impedance matching circuit, the two small transistors near the top act as buffers for the line in stage. 
  Three additional gain blocks are made up of the three quad operational amplifiers marked TL084C, the C being CMOS. These are low noise, hi impedence devices that use bi-fet transistor technology internally. Each TL084 contains four Op-Amp devices. Generally they sound good and 
can be considered an "upgrade" part. 
   The "speaker" outputs, and I use that term loosely, are powered by two LM386 power Op-Amps. They will drive headphones, but are not known for their fidelity. They could be bypassed, yeilding a second set of line outputs. I'll poke around with an osciliscope but I think the spot where the inputs come in through the coupling capacitors, marked C35 and C36 on M-ACPA and C15 and C17 on ARPA, looks likely. 
   I just noticed that ARPA only has 3 voltage regulators, while M-ACPA has 4. The LM 317 and LM 337 imply a dual rail power supply with a positive and a negative rail on the M-ACPA, while ARPA appears single ended. This could mean that M-ACPA has more dynamic range, greater output levels and less TIM distortion than ARPA. The 317/337 pair are adjustable, so I don't know what their output voltage is, but if I designed the thing, I'd tap the +/- 12 volt and regulate it 10 or 11 volts. 

ACPA Source
Brad Parker said:
   Been looking at the IBM ACPA source very carefully, trying to figure out how it works. I have noticed many very interesting details. Here's what  I think I know: 
   ACPA works a lot like Mwave, in that there is a TI DSP that it is loaded with an operating system (ACPA OS?). This indicates that Mwave followed IBM's usual evolutionary, not revolutionary model. 
   The ACPA OS runs the programs that play, record and loopback. Dave Weis ported the OS and it loads and runs the playback program he also ported. There is only 8K of memory on it, so I don't think a Soundblaster emulation like Mwave's is possible. I'm going to add record capability 
by porting the record program module. 
   The card dosen't use interrupts, it reads and writes directly to I/O ports, MCA superiority at work. Looks like it can be treated as a block device which means that direct DAT record/playback (ala SGI) is possible. That's a job for whoever supports the mt utility. 
   The ACPA supports just about every sample rate I can think of, including a 48K professional format that was used with M-motion and would probably work with DAT and ADAT. ACPA also supports a mono 88K rate, which would make very good quality recordings. The only major one missing is the current 96K fad. Of course we are only recording with 16 bit resoulution, not 20 or 24 bit like the modern stuff. Then again, they have to down convert to put it on a 16 bit CD. I read on the Pro Audio NG that bit rate and sample rate conversion is a big pain. The concensus there is to record at the sample rate and resolution of your target media, 16 bit 44.1 Khz, or for commercial reproduction, 16 bit 48 Khz 
   I think the most interesting thing I found out is that the original IBM driver supports up to 4 ACPAs concurrently! Keeps track of the seperate stereo audio streams and everything. Very nice for my purposes. Don't think OS/2 every took advantage of that. Hopefully the Linux stuff will work out that way :-) 
   If I can pull this off, I'm going to attempt a port for Audiovation. I finally got a copy of the Mwave developer's kit. It's very Win 3.XX orientated, but the Soundblaster emulator might be ported to work with Linux directly, without all the dual boot monkey business that goes on now. 



AdapterId 06e6c  "ACPA/A"

Address Selection
   The base address of the M-ACPA/A can be at one of 4 different locations. Choose a location which does not conflict with any other installed board.  'Disable' will cause the M-ACPA/A to 
not be available.
    <"FDC0-FDC7">, FDC8-FDCF, FDD0-FDD7, FDD8-FDDF, Disable

Interrupt Selection
   Interrupt level used.  Minimize the amount of interrupt sharing by assigning other installed boards to different levels.
    <"Interrupt 3">, 4, 5, 6, 9, 10, 11, 12

9595 Main Page