8555 Planar
rf5565a.exe    PS/2 8555/8565 reference diskette v1.05
8555 Power
8555 Procomm Riser
189-076 PS/2 Model 55 SX and 80387SX Math Co-Processor  (8555-031 and 8550-061)
189-089 IBM PS/2 Model 55 SX (8555-R31 and 8555-R61)
190-171 IBM PS/2 Model 55 LS (8555-LT0 and 8555-LE0)
191-077 IBM PS/2 Model 55 SX (8555-041 and 8555-081) and Memory Upgrade for 55 LS
SHS15F2195     IBM PS/2 Model 55 SX HMS
SHS15F2250     IBM PS/2 Model 55SX HMR

Early Planar
Late Planar
Early Riser
Newer Riser
Late Riser
IBM PS/2 Model 55SX Hangs at Start Up with Windows 3.1
Both of these planars and the three risers were sent to me by David Beem from New Mexico.

ADF Sections for Integrated Fixed Disk and Controller



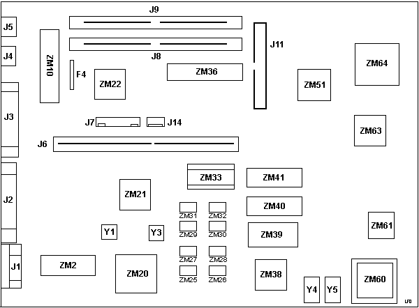
Early 8555SX Planar
F1 3A
J1 Mouse
J2 Keyboard
J3 DB25 Serial
J4 Parallel
J5 HDD15 Video
J7 Power cable P7 header
J8 40 pin floppy header
J9 Bus Riser
J14 Power cable P14 header
ZM2 IMGS171S-35
ZM16 23F8566
ZM17 23F9177
ZM18 15F6864
ZM23,24 72 pin SIMM sockets
MMI 33F5102 hot glued to planar
ZM25-28, 32-35 NEC D4146L-10
ZM40 Dallas DS1287
ZM43 33F8145 BIOS Odd
ZM44 33F8146 BIOS Even
ZM49 27F4620
ZM53 27F4659
ZM54 27F4619
ZM62 80386SX-16
ZM61 80387SX-16
ZM69 P8042AH
ZM70 NEC D765BC
ZM80 90X8134ESD DMA
Y1 25.175 MHz osc
Y2 28.32200 MHz osc
Y3 14.31818 MHz osc
Y4 32.00000 MHz osc
Peter wrote:
   Early Mod. 55SX had a risercard connector with too long solder pins. If you applied pressure to the top of the case the pressure goes onto the riser card, which presses down the systemboard ... which makes contact with the grounded metal on lower chassis for some databus signal pins. [snip] (IIRC there was an ECA "IBM dealer confidential" on this topic)
- the "dead cockroach" board with the many patch wires and the glued, silver-capped patch chip. Needs the almost bare riser card, does not work with the later ones (or: not always). Had various problems from which the non-functional pin to shut off the 386SX is the worst. Does not work with
"clip-on" processor expansions. Fails with 8514/A + network cards.


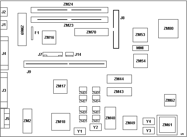
Late 8555SX Planar
F4 KB Fuse
J1 HDD-15 Video
J2 DB25 Serial
J3 Parallel
J4 Mouse
J5 Keyboard
J6 Bus Riser
J7 Power header P7
J8,9 72 pin SIMM sockets
J11 40 pin floppy header
J14 Power header P14
ZM2 IMSG171P-35R
ZM10 P8042AH
ZM20 15F6864
ZM21 37F0728
ZM22 23F8566
ZM25-31 NEC D4146L-10
ZM33 CMOS Ram Extension chip
ZM36 NEC D765BC
ZM38 27F4620
ZM39 Dallas DS1287
ZM40 33F8145 BIOS Odd
ZM41 33F8146 BIOS Even
ZM51 57F1139
ZM60 80387SX-16
ZM61 80386SX-16
ZM63 27F4619
ZM64 90X8134ESD DMA
Y1 28.3220 MHz osc
Y3 25.1750 MHz osc
Y4 32.00000 MHz osc
Y5 14.318181 MHz

- the revised 55SX board FRU 27F4667. Components slightly rearranged. Riser cards have more capacitors and / or the 74LS-something that fixes a problem with 8514/A-style cards.

- the 55LS "netcomputer" planar FRU 57F3003. Derived from the 27F4667. Uses the 74LS-riserboard, different ROM, the 2K RAM extension (if -LEO or -LTO model).

>What is the unpopulated 28-pin DIP socket by the RTC? None of my 55 boards have it filled in. RIPL ROM if the network board didn't have it?

Peter says:
24-pin - as you noted in your follow up posting.

It is for a 2K CMOS Ram extension chip (6116 or something) that adds to the one in the Dallas RTC - needed for some purpose on totally medialess 55SXs (no FDD, no HD, only NIC).
I think it is intended to hold some system status / shutdown infos that are usually written to disk.

PN is FRU 64F0722 "2KB NV RAM Module"

William Walsh:
> Also has anybody ever seen the resisters sodered ontop the IMGS171S-35, it's labeled as ZM2 on Louis's page.  On this machine  they have soldered 6 resistors in connecting some of the pins on that chip.  I'm wondering if this is a custom job or something IBM did??

It's something IBM did. I don't know what the exact purpose is, but it circumvents problems that IBM experienced with the RAMDAC. Model 30-286 planars may also have this fix.

David Beem:
      They are diodes. Only present for some plastic versions of the RAMDAC. The ceramic version was fine.

Early Riser P/N 27F4625

This riser is bare of anything to the right of the MCA slots but the battery/speaker connector.

Newer Riser  P/N 27F4625

This riser has an addition of a resistor, a 74F08N, and a bit of wiring on the back.

Late Riser P/N 27F4666

  This bad boy moves the battery/speaker header down and adds a few resistors and capacitors.


> No, it doestn't get to the menu. It just says that the battery is dead then starts the Automatic Configuration (or, at least, attempts to). I tried unplugging everything and the plugging them one by one, but without any luck. It does the same thing every time...

Peter says:
Recently it may happen that the battery is *that* drained, that the CMOS cannot be properly written and the next reboot reads corrupted data and hangs the system.

After a power cycle and reboot from the reference diskette the silly game repeates.

You will have to swap out the DS1287 chip for another one. If you cannot get the 1287 you may use the DS12887, which is the pin- and function compatible successor of the 1287.

CMOS Clear Method
Aron Eisenpress comes up with:

"I have exactly the same problem with a 55SX.  Only in my case I was trying to install OS/2 on it.  The install progressed to the first reboot and then couldn't boot off the drive.  What's weird is that it
manages to copy all the files to the drive during the installation, so it does see the drive, it just won't boot from it.

Aron suggested the following, but I haven't had a chance to try it yet.  I have to look for a DOS floppy to boot from.  If you try this and it works please post it here.

"I did some searching on the 55sx problem after replacing the Dallas RTC chip, and found one suggestion that says you need to clear the CMOS before the configuration will take.

The method is to boot from a floopy, run DEBUG, and type

  o 70 13
  o 71 00
  q

Then run the reference diskette and autoconfigure again.""

Color Changes After Memory Upgrade
   I keep losing half my color settings in Windows whenever I increase the ram chips from 2 meg to four meg. Does anyone know what settings are being changed (INI files, resolution)? Any tips welcomed.

Peter replies:
   I have seen this twice in the past that a Mod. 55SX "reacts funny" on memory upgrade. In both cases it was a *board* failure: #1 had a micro-crack in one copper-line at the underside of the board #2 had the pins of the riser-card connector too long and these touch the grounded chassis after re-insertion of the riser card. Both errors showed up only with 2 memory modules installed. Pretty strange.

I would suggest to try out a "bread board" installation. Remove the board from the chassis, remove the power-supply also and place it on a non-conductive surface (Warning: underside pins may scratch furniture). Install the memory modules, the riser board and lay HD and FDD in a place where it can be connected but do not touch board or power-supply. When the system runs fine without the chassis inspect the underside of the planar if there are cracks or too long component pins, especially on the riser-card connector and around all places, where the board fixing screws go.

And: there are some combinations of planars / riser-cards known as non working. If the planar FRU is 27F4667 the appropriate riser-card must be 27F4666 (P/N 64F0809 on a white sticker, contains a 74F08-chip and some condensors / resistors. The almost totally empty riser-card (P/N 274630 on white sticker / 6 condensors between slots / 2 larger tinned areas at the rear) belongs to an early down-level 55SX-planar and is known to cause problems. The 2nd series risercard .

Peter wrote:
   But .... some early Mod. 55SX suffer on a sort of systemboard bug that changes the LPT timing a bit and they choke on faster transmissions in bi-directional mode - like with using EPP devices (CD-ROM, Iomega Zip drive) or Interlink. Those EPP devices run but rather slow and if you connect that 55SX to another computer with LapLink you will get a hell of time-out errors when copying larger files (until the system hangs).

   It is pretty hard to tell which boards are affected. I found out during testings, that mainly those old boards tend to fail that have the "dead cockroach" chip at the mid/front. It is sitting between the two bigger square chips and is accompanied by a silver capped chip glued to the board. Both are wired to the system with patch-wires. These machines have the old Level-1 riser card 27F4630 (printed on a decal), which is almost bare apart from six small condensors between the MCA connectors. The Level-1 riser board has no chips and no "component printing" in white. The board P/N is 33F5064 (sticker over 33F5060 P/N - which was the buggy, unfixed original board P/N).

   There was a revised systemboard without the patch-on chip, which came with the Level-2 riser (several resistors, some el-co's and the small condensors - came with an ECA from IBM due to problems running 8514/A style cards), which has been replaced by the Level-3 riser 64F0809 with a 74F08 chip (ZM1). The early 55SX planar cannot be used with the Level-3 risers ... the later systemboard should not be used with the bare Level-1 riser. 
   The later sysboard is FRU P/N 27F4667, P/N 85F0419 (55SX) or 57F3003 (55LS / LEO/LTO - which have the additional 2K CMOS NV-RAM), the riser is FRU P/N 27F4666, P/N 64F0809 (55SX) or 64F3732 (55LS). Sadly the FRU alone does not tell, which P/N is behind ... IBM always delivered the latest P/N at a FRU request.

I installed about 350 - 400 Mod. 55SX in the early '90s for the german Automobile Club ..... so I guess I knew them quite well ... :-)

The harddisk is in fact a camouflaged MCA-adapter with a harddisk mechanism atop.
The entire MCA-bus is fed over the cable to the drive. This drive is the fourth MCA slot, which shows up in the configuration. In case the contacts between board and riser, riser and cable, cable and harddisk are oxydated -or- in case the cable is slightly damaged there will be a communication problem between board and harddisk - which in the end leads to 1048x HD-error or "hang condition" during Power On Self Test (boot-up).

The maximum system board memory capacity is 8MB (4MB memory module kits installed in memory-module connector 1 and 2).  A memory-module kit must be installed in memory
module connector 1.  The system can support a total of 16MB of memory.

My experience is that the 55sx is fine with one SIMM, but it must go in the slot closer to the power supply. The 55sx takes PS/2 SIMMs, 1mb, 2mb, or 4mb, either 85ns or 100ns.  I'm pretty sure it can also take 80ns SIMMs (definitely can in the 4mb size), but I'm not certain.
------- 
 -- Aron Eisenpress, 

486 CPU Upgrade: IBM PS/2 Model 56, 57 
>Any reason it won't work on the 8555?

Older 55SX had a slightly buggy mainboard / CPU where the "CPU disable" pin did not work as supposed. You could use "clip-over" upgrades only on the 55SX anyway since it has no "upgrade" socket of any sort (the 387SX socket does not feed all required lines through ...).

If your 55SX planar has the "dead cockroach" fix (silver capped chip with patchwires around) suspect it as one of the earlier ones that might or might not work. The early models with the "bare" riser card without any TTL-logic chip and without lots of capacitors had multiple troubles - not only with the CPU.

>But could you ground out a pin directly on the cpu?

Ahem ... as far as I recall IBM reported having got a quantity of 386SX where the disable pin does not work *at all* - and therefore any clip-over upgrades won't work.

The "dealer confidential" paper I have in mind mentioned the 55SX / 65SX only - none of the other SX-machines (like L40, N33 etc.) where the case forbids to use any updates anyways. The L40 however had been on the "CPU upgradeable" list at Hantz & Partner (www.upgrade.de) years ago, which was a "send-in upgrade" with soldering on board level. So it seems as if only very early 16MHz 386SX were affected by this general fault.

The corresponding pin is -FLOAT ("FLT#", active low - pin 28), which "floats all Intel 386SX bidirectional and output signals, including HDLA. Asserting FLD# isolates the Intel 386SX from the surrounding circuitry." (Intel Datasheet 24018708.PDF, Page 60) Originally this pin was added to allow in-circuit emulation without the need to unsolder / remove the chip from the board.

Simple test: ground pin 28 and the system may not POST.  If it does the chip is one of those faulty few.

386SX/16 CPUs in general do not have a (working) disable pin, except they bear a 'C STEP' writing (most of the ones I've seen don't...).  All 386SX CPUs with 20 MHz or more use at least the C stepping mask, so that's not a issue for them...

Best regards, Alfred   

Remove Password
To remove the password:
- open the cover (hardest part of the operation...)
- locate the speaker cable from the front to the vertical bus riser card
- unplug the cable at the bus riser card
- turn it around by 180 degrees
- plug it back to the bus riser card
- close the cover.

Password is gone.


ADF Sections for @DF9Fh "Integrated Fixed Disk and Controller"

DMA Arbitration Level
   DMA channel adapter uses to transfer data
          < "Level 5">, 6, 7, 0, 1, 3, 4

DMA Burst Pacing Interval
   Time interval between DMA transfer bursts during which the Micro Channel is released by the fixed disk controller for use by the cpu.  Under normal circumstances, select <24 Microseconds>
          <"24 Microseconds">, 31, 16, Burst Disabled

DMA Pacing Control
   Enables or disables the 'DMA Burst Pacing Interval.' If set to <Burst Disabled>, the DMA Pacing Control will be disabled.  Under normal circumstances, select <Disabled>.
          <"Disabled>, Enabled

Time to Release

   The amount of time that the fixed disk controller will keep the Micro Channel after being preempted. If the 'DMA Pacing Control' is set to <Enabled>, the Time to Release will default to immediate.  Under normal circumstances, select <6 Microseconds>.
          <"6 Microseconds">, 3, Immediate

Fairness On/Off
   Whether the adapter will release control of the bus when it has been using it exclusively. Under normal circumstances, select <On>.
          <"On">, Off

Primary/Alternate Port Addresses
   This assigns the port addresses used by the adapter.  Either <Primary> or <Alternate> will work  equally well.  If there are two integrated fixed disks, then select <Primary> for one and <Alternate> for the other.
          <"Primary">  (3510h-3517h), Alternate (3518h-351fh)

9595 Main Page